2023年10月12日铝业行情
10月12日长江有色金属现货快讯

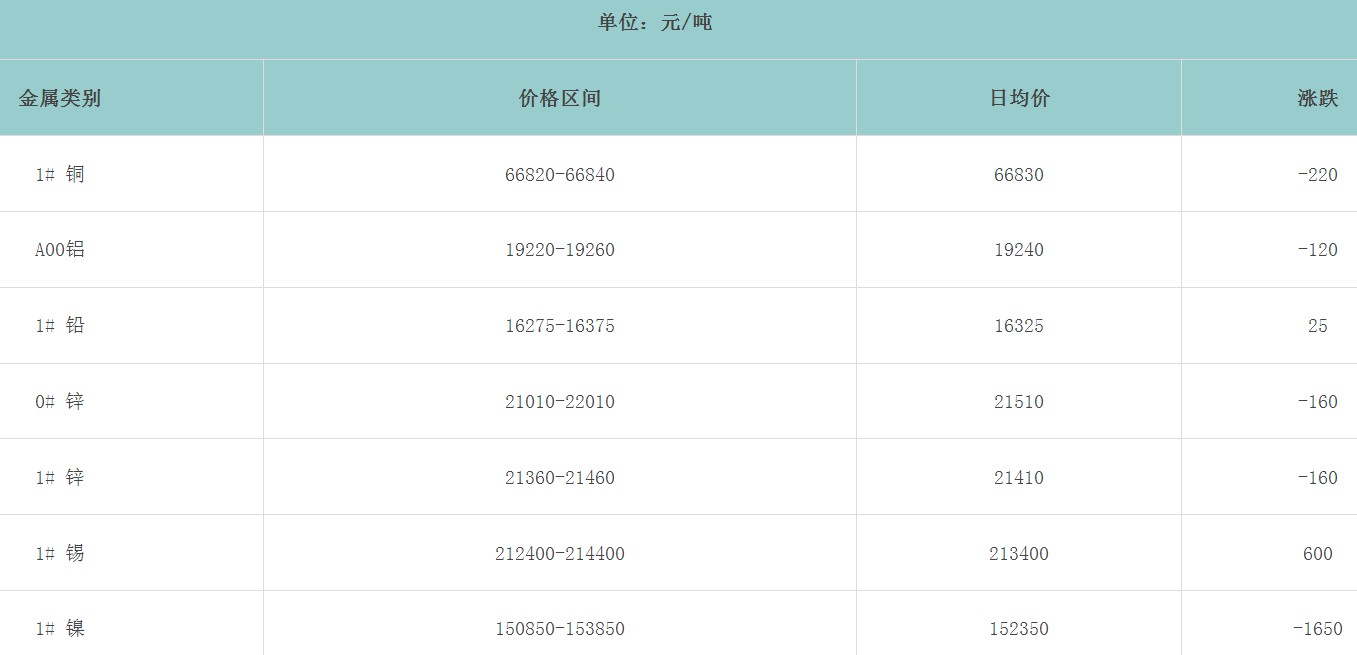
10月12日长江有色基本金属行情

10月12日中原有色市场行情

10月12日南海有色(灵通)金属现货行情

10月12日上海期货开盘行情
![]()

注:1、表中铜、铝、锌2310合约为现货合约。
2、本表中涨跌=今开盘价-昨结算价,其中昨结算是指昨日价格按照成交量的加权平均价。
3、报价单位:铜、铝、锌、铅为元/吨。
10月12日上海现货(SME)基本金属行情

10月12日广东南储华东有色金属报价

10月12日广东南储华南地区有色金属市场行情

- 上一条信息:2023年10月11日铝业行情
- 下一条信息:2023年10月16日铝业行情

