2022年5月26日铝业行情
5月26日长江有色金属现货快讯

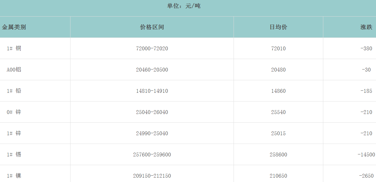
5月26日长江有色基本金属行情

5月26日中原有色市场行情

5月26日上海期货开盘行情
![]()

注:1、表中铜、铝、锌2206合约为现货合约。
2、本表中涨跌=今开盘价-昨结算价,其中昨结算是指昨日价格的加权平均价。
3、报价单位:铜、铝、锌、铅为元/吨。
5月26日上海现货(SME)基本金属行情

5月26日广东南储华南地区有色金属市场行情

5月26日广东南储华东有色金属报价

5月26日中铝股份公司主要产品每日销售报价

- 上一条信息:2022年5月25日铝业行情
- 下一条信息:门窗的基础知识

